
Deurkruk op rozet
Het mooiste deurbeslag op rozet

Deurkruk op schild
Bekijk hier alle deurkrukken op schild

Deur- knoppen
Voor een strakke uitstraling

Rozetten
Passend bij deurkrukken op rozet
Binnendeurbeslag

Het mooiste deurbeslag op rozet

Bekijk hier alle deurkrukken op schild

Voor een strakke uitstraling

Passend bij deurkrukken op rozet
Buitendeurbeslag
Rozetten

Genieten in alle rust

Voor de slaapkamer deur of meterkast

Voor afsluitbare binnendeuren
Brievenbussen

In verschillende kleuren

Milieubewuste keus

Traditioneel en eenvoudig

Prijsbewuste keus

Voorkom gemiste pakketten
Sloten & Cilinders

Ideaal voor binnendeuren

Voor buitendeuren

Nieuw in ons assortiment

Strak design
Scharnieren & Paumelles
Raambeslag

Draai-kiep sluitingen

Met Raamboompjes

Genieten in alle rust

Genieten in alle rust

Scherpe prijs

Verschillende soorten en maten

Greepjes voor kastjes

Voor kastdeurtjes en laden
Schuifdeurbeslag
Overige
Aanbiedingen
Per stuk
Black Friday Maand Deals: De gehele maand hoge kortingen! Sla nu je slag.
30,00 Oorspronkelijke prijs was: 30,00 .21,75 Huidige prijs is: 21,75 .
Voor 19:00 besteld, morgen in huis
Deze Dulimex DX Raamuitzetter Wegdraaibaar Kort verhoogt uw veiligheid.
Veel inbrekers komen binnen via het bovenlicht: het kleine raampje boven een raam of deur. Een barrièrestang vertraagt de inbreker, maar kan inbraak niet volledig voorkomen. Vaak staat het bovenlicht op een kier of is het op een heel eenvoudige manier vergrendeld. Voor inbrekers is het dan vrij gemakkelijk het bovenlicht te forceren en te openen, vooral als een kliko of ladder in de buurt is waar ze op kunnen staan. Via het bovenlicht kan de deur of het raam worden geopend wanneer de sleutel nog in het slot zit.
Oplossing?
Beveilig het bovenlicht met een DX raamuitzetter wegdraaibaar SKG** en sluit altijd jouw ramen en deuren wanneer je de deur uit gaat!
Voor meer informatie over inbraakbeveiliging en PKVW zie tabblad “Politie Keurmerk Veilig Wonen (PKVW)”
Toepassingsadvies
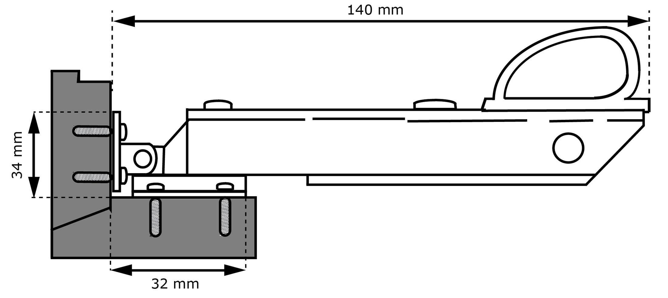
De minimaal benodigde openingsruimte van deze raamuitzetter wegdraaibaar SKG** is slechts 135 mm. Daarmee is dit model meteen de kortste raamuitzetter wegdraaibaar verkrijgbaar in de markt. Een bijkomend voordeel van dit korte model is dat de raamuitzetter ook in combinatie met een barrièrestang perfect toegepast kan worden. Daarnaast is de raamuitzetter toepasbaar op smalle kozijnen vanaf 32 mm kozijnhoutdiepte
Bij een raambreedte vanaf 1 meter wordt geadviseerd om twee DX raamuitzetters wegdraaibaar SKG** toe te passen.
Voor de overbrugging van een tochtstrip of tochtkader zijn er onderlegplaatjes verkrijgbaar (zie tabblad accessoires).
Technische info
De DX raamuitzetter wegdraaibaar SKG** is gemaakt van RVS en zamac onderdelen. De montagevoetjes en body zijn van RVS gemaakt en het handvat is van kunststof. Het beslag is verkrijgbaar in de kleuren wit-wit, RVS-hamerslag antraciet en zwart-zwart.
Doordat de raamuitzetters (type RUZ) deel uit maken van ons programma raam- & deurbeslag van o.a. raamboompjes (type RBM) en oplegraamsloten (type SLS), zijn design, materiaal, kleur en finish perfect op elkaar afgestemd. Kortom: Eén sluitende oplossing voor jouw raam- en deurkozijnen.
Gratis verzending
Bij Deurbeslag-expert hanteren we altijd een minimaal bestelbedrag om aan gratis verzending te komen. Hieronder vindt je meer informatie per land.
| Land | Standaard verzendkosten | Gratis verzending |
| Nederland | €4,95 | > €99 |
| Belgie | €6,95 | > €99 |
De bezorgdienst
Wij verzenden al onze bestellingen via Groenbezorgen, ofwel fietskoeriers. Dit houdt in dat alle bestellingen bij ons op de fiets worden afgehaald en waar mogelijk ook op die fiets bezorgd worden. Let op, indien jouw woonplaats niet binnen de regio van Groenbezorgen valt besteden zij het transport uit aan DHL.
Retourneren
Mocht het nodig zijn, dan kun je jouw bestelling altijd terugsturen.
Je hebt het recht jouw bestelling tot 30 dagen na ontvangst terug te sturen– dit is langer dan de wettelijke termijn van 14 dagen! Je krijgt dan het volledige orderbedrag inclusief verzendkosten gecrediteerd (let op, alleen wanneer de gehele bestelling wordt teruggestuurd). Enkel de kosten voor retour van jou thuis naar Deurbeslag Expert zijn voor eigen rekening (€6,95).
Indien je gebruik maakt van het herroepingsrecht, zal het product met alle geleverde toebehoren en – indien redelijkerwijze mogelijk – in de originele staat en verpakking aan Deurbeslag Expert geretourneerd worden. Vermeld daarnaast duidelijk je order nummer en jouw gegevens, zodat we het makkelijk en snel kunnen verwerken. Indien deze gegevens ontbreken kan het proces vertraagd worden en bij het ontbreken van bepaalde gegevens kunnen we een retour order niet verwerken. Om gebruik te maken van dit recht dien je jouw retour aan te melden door het onderstaande formulier in te vullen:
Wij zullen vervolgens het verschuldigde orderbedrag binnen 14 dagen na ontvangst van de producten jouw retour terugstorten mits het product reeds in goede staat retour ontvangen is. Doorgaans staat het bedrag vervolgens binnen drie werkdagen terug op jouw rekening (deze drie dagen kunnen dus nog bovenop de 14 dagen komen).
Binnendeurbeslag
Deurkrukken
Rozetten
WC Sluiting / Toilet rozet
Sleutelgat rozet
Cilinder Rozet
Blind rozet
Bekijk alle
Deurknoppen
Overige
Buitendeurbeslag
Brievenbussen
Sloten & Cilinders
Scharnieren & Paumelles
Raambeslag
Meubelbeslag
Schuifdeurbeslag
Aanbiedingen
Nog geen account?
Account aanmaken
Voor 19:00 besteld, morgen in huis

Title of link

Title of link

Title of link

Title of link

Title of link

Title of link

Title of link