
Deurkruk op rozet
Het mooiste deurbeslag op rozet

Deurkruk op schild
Bekijk hier alle deurkrukken op schild

Deur- knoppen
Voor een strakke uitstraling

Rozetten
Passend bij deurkrukken op rozet
Binnendeurbeslag

Het mooiste deurbeslag op rozet

Bekijk hier alle deurkrukken op schild

Voor een strakke uitstraling

Passend bij deurkrukken op rozet
Buitendeurbeslag
Rozetten

Genieten in alle rust

Voor de slaapkamer deur of meterkast

Voor afsluitbare binnendeuren
Brievenbussen

In verschillende kleuren

Milieubewuste keus

Traditioneel en eenvoudig

Prijsbewuste keus

Voorkom gemiste pakketten
Sloten & Cilinders

Ideaal voor binnendeuren

Voor buitendeurenÂ

Nieuw in ons assortiment

Strak design
Scharnieren & Paumelles
Raambeslag

Draai-kiep sluitingen

Met Raamboompjes

Genieten in alle rust

Genieten in alle rust

Scherpe prijs

Verschillende soorten en maten

Greepjes voor kastjes

Voor kastdeurtjes en laden
Schuifdeurbeslag
Overige
Aanbiedingen
Per stuk
Black Friday Maand Deals: De gehele maand hoge kortingen! Sla nu je slag.
5,52 Oorspronkelijke prijs was: 5,52 .4,25 Huidige prijs is: 4,25 .
Voor 19:00 besteld, morgen in huis
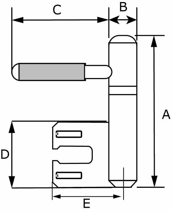
Deze inboorpaumelle Staal Zwart gelakt, ook wel insteekpaumelle genoemd, is ideaal voor het afhangen van opdekdeuren in stalen Hörmann inmetselkozijnen of voor het vervangen van bestaande paumelles.
Opdekdeuren worden vaak binnenshuis gebruikt, zoals naar een slaapkamer, werkkamer, studeerkamer of meterkast. Met deze paumelle zorgt de nylon ring voor een soepele werking, wat perfect is voor deuren die regelmatig worden geopend en gesloten. Bovendien is de paumelle onderhoudsvrij!
De montage is eenvoudig. Deze paumelle is geschikt voor zowel links- als rechtsdraaiende deuren, en de onder- en bovenhelft kunnen afzonderlijk worden bevestigd voordat de deur in zijn geheel wordt afgehangen. Een groot voordeel van deze paumelle is dat de deur na bevestiging gemakkelijk in en uit het kozijn kan worden getild, wat handig is voor bijvoorbeeld schilderwerkzaamheden.
Of je nu een basic, industrieel of klassiek interieur hebt, de inboorpaumelle is verkrijgbaar in zwarte, vernikkelde of satijn verchroomde afwerkingen, zodat je de paumelle perfect kunt afstemmen op jouw interieurstijl.
Op zoek naar een paumelle voor een Theuma of Polynorm inmetselkozijn? Kies dan voor deze paumelle.
| Merk | |
|---|---|
| Garantie | |
| Din Norm (NL) |
Universeel |
| Type Scharnier |
Paumelle |
| Scharnierlager |
Nylonlager |
| Materiaal | |
| Incl. bevestigingsmateriaal | |
| Type deur |
Opdekdeur |
| Kleur |
Zwart |
| Draagkracht per 3 |
30 |
| Certificering |
Niet bekend |
| Geschikt Voor Vluchtwegen |
Nee |
| Sierstuk |
Platkop |
| Geschikt voor type kozijn |
Stalen Hörmann inmetselkozijnen |
| Afwerking |
Glans |
| Coating |
Lak |
Gratis verzending
Bij Deurbeslag-expert hanteren we altijd een minimaal bestelbedrag om aan gratis verzending te komen. Hieronder vindt je meer informatie per land.
| Land | Standaard verzendkosten | Gratis verzending |
| Nederland | €4,95 | > €99 |
| Belgie | €6,95 | > €99 |
De bezorgdienst
Wij verzenden al onze bestellingen via Groenbezorgen, ofwel fietskoeriers. Dit houdt in dat alle bestellingen bij ons op de fiets worden afgehaald en waar mogelijk ook op die fiets bezorgd worden. Let op, indien jouw woonplaats niet binnen de regio van Groenbezorgen valt besteden zij het transport uit aan DHL.
RetournerenÂ
Mocht het nodig zijn, dan kun je jouw bestelling altijd terugsturen.
Je hebt het recht jouw bestelling tot 30 dagen na ontvangst terug te sturen– dit is langer dan de wettelijke termijn van 14 dagen! Je krijgt dan het volledige orderbedrag inclusief verzendkosten gecrediteerd (let op, alleen wanneer de gehele bestelling wordt teruggestuurd). Enkel de kosten voor retour van jou thuis naar Deurbeslag Expert zijn voor eigen rekening (€6,95).
Indien je gebruik maakt van het herroepingsrecht, zal het product met alle geleverde toebehoren en – indien redelijkerwijze mogelijk – in de originele staat en verpakking aan Deurbeslag Expert geretourneerd worden. Vermeld daarnaast duidelijk je order nummer en jouw gegevens, zodat we het makkelijk en snel kunnen verwerken. Indien deze gegevens ontbreken kan het proces vertraagd worden en bij het ontbreken van bepaalde gegevens kunnen we een retour order niet verwerken. Om gebruik te maken van dit recht dien je jouw retour aan te melden door het onderstaande formulier in te vullen:
Wij zullen vervolgens het verschuldigde orderbedrag binnen 14 dagen na ontvangst van de producten jouw retour terugstorten mits het product reeds in goede staat retour ontvangen is. Doorgaans staat het bedrag vervolgens binnen drie werkdagen terug op jouw rekening (deze drie dagen kunnen dus nog bovenop de 14 dagen komen).
Binnendeurbeslag
Deurkrukken
Rozetten
WC Sluiting / Toilet rozet
Sleutelgat rozet
Cilinder Rozet
Blind rozet
Bekijk alle
Deurknoppen
Overige
Buitendeurbeslag
Brievenbussen
Sloten & Cilinders
Scharnieren & Paumelles
Raambeslag
Meubelbeslag
Schuifdeurbeslag
Aanbiedingen
Nog geen account?
Account aanmaken
Voor 19:00 besteld, morgen in huis

Title of link

Title of link

Title of link

Title of link

Title of link

Title of link

Title of link